光學高溫計和光電比色高溫計都屬于非接觸測溫的儀表,昌暉儀表在本文對光學高溫計和光電比色高溫計工作原理和優缺點做科普介紹。
光學高溫計是發展最早、應用最廣的非接觸式溫度計之一。它結構簡單,使用方便,測溫范圍廣(700-3200℃),一般可滿足工業測溫的準確度要求。光學高溫計目前廣泛用于高溫熔體、爐窯的溫度測量,是冶金、陶瓷等工業部門十分重要的高溫儀表。光學高溫計是利用受熱物體的單色輻射強度隨溫度升高而增加的原理制成的,由于采用單一波長進行亮度比較,因而也稱單色輻射溫度計。物體在高溫下會發光,也就具有一定的亮度,物體的亮度與其輻射強度成正比,所以受熱物體的亮度大小反映了物體的溫度。通常先得到被測物體的亮度溫度,然后轉化為物體的真實溫度。

光學高溫計的缺點是以人眼觀察,并需用手動平衡,因此不能實現快速測量和自動記錄,且測量結果帶有主觀性。最近,由于光電探測器、干涉濾光片及單色器的發展,使光學高溫計在工業測量中的地位逐漸下降,正在被較靈敏、準確的光電高溫計所代替。光電高溫計是在光學高溫計的基礎上發展起來的,用光敏元件代替人眼,實現光電自動測量。

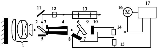
說明:1為物鏡;2為平行平面玻璃;3為光欄;4為光導棒;5為瞄準反射鏡;6為分光鏡;7、9為濾光片;8、10為硅光電池;11為圓柱反射鏡;12為目鏡;13為棱鏡;14、15為負載電阻;16為可逆電動機;17為放大鏡
圖1 光電比色高溫計的原理結構圖
這里以比色高溫計為例,介紹光電高溫計的工作原理。圖1為光電比色高溫計的原理結構圖。被測對象經物鏡1成像,經光欄3與光導棒4投射到分光鏡6上,使長波(紅外線)輻射線透過 ,而使短波(可見光)部分反射。透過分光鏡的輻射線再經濾光片9將殘余的短波濾去后被紅外光電元件(硅光電池)10接收,轉換成電量輸出。
由分光鏡反射的短波輻射線經濾波片7將長波濾去,而被可見光硅光電池8接收,轉換成與波長亮度成函數關系的電量輸出。將這兩個電信號輸入自動平衡顯示紀錄儀進行比較得出光電信號比,即可讀出被測對象的溫度值。光欄3前的平行平面玻璃2將一部分光線反射到瞄準反射鏡5上,再經圓柱反射鏡11、目鏡12和棱鏡13,就能從觀察系統中看到被測對象的狀態,以便校準儀器的位置。
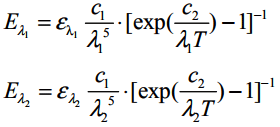
設長波(紅外線)波長為λ1,短波波長為λ2,光譜發射率分別為ελ1和ελ2,根據普朗克定律,兩種波長的輻射能量為

兩種波長下輻射能量之比為

由上式可見,如果波長λ1和λ2一定,且已知相應波長下的ελ1和ελ2,則兩波長輻射能量之比與其熱力學溫度之間成單值對應關系,只要測出輻射能量之比就可以求得溫度T。
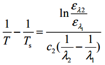
比色高溫計是按照黑度刻度的,用這種刻度的高溫計去測量實際物體,所得到的溫度示值為被測物體的“顏色溫度”。若黑體在λ1和λ2兩種波長下,在溫度為TS時的輻射能量之比和實際物體在溫度T時的輻射能量之比相等,則TS為該物體的“顏色溫度”,二者之間存在以下關系

公式中TS為比色高溫計的讀數;T為實際溫度,根據λ1、λ2、ελ1、ελ2和TS可以通過讀數求出被測物體的實際溫度。
這種高溫計屬非接觸測量,量程為800-2000℃,精度為0.5,響應速度由光電元件及二次儀表記錄速度而定。其優點是測溫準確度高,反應速度快,測量范圍寬,可測目標小,測量溫度更接近真實溫度,環境的粉塵、水汽、煙霧等對測量結果的影響小,可用于冶金、水泥、玻璃等工業領域。
相關閱讀
常用溫度測量方法
