由于市場對差壓變送器測量準確度的要求不斷提高,導致差壓變送器的靜壓影響誤差越來越突出。從金屬電容式的結構特點分析出發,并結合一定的試驗,得出結論:金屬電容式差壓傳感器由于其本身的結構特點決定,其靜壓影響誤差不可消除或明顯減小。只有通過靜壓補償或采用硅差壓傳感器原理,才可實現較小的靜壓影響誤差。

1、引言
差壓變送器在線性校準時,通常是在負壓室通大氣的條件下進行的。也就是說靜壓為1個大氣壓,但是一旦安裝到現場實際使用時,往往會在正負壓室加上一定的工作壓力,此時會發現零位產生了偏移,滿位輸出也出現一定的偏移(滿位偏移一般要通過與標準儀器比對讀出)。這種當加上工作靜壓,導致變送器的零位和滿位輸出與大氣校驗時的零位和滿位發生偏移的稱為靜壓影響誤差。
2、靜壓影響對變送器性能的影響和現場舉例
差壓變送器的靜壓誤差直接影響到其綜合精度。差壓變送器的綜合精度(%)一般有3個因素組成,它們是精度(%)、環境溫度變化影響(%/30°)、靜壓變化影響(%/7MPa)。它們的計算公式為:
![]()
由此可見,靜壓誤差對差壓變送器的綜合精度來說,是一個非常重要的因素。這點,昌暉儀表在各個實際的應用工況中也得到了實際印證。
比如,當差壓變送器應用到孔板流量檢測的現場應用的時候,在管道內部裝上孔板或噴嘴等節流件,由于節流件的孔徑小于管道內徑,當流體流經節流件時,流束截面突然收縮,流速加快。經節流件后,后端流體的靜壓力降低,于是在節流件前后產生了靜壓壓差,該靜壓壓差與流體的流量之間有確定的數值關系、符合Q=K。用差壓變送器測量節流件前后的差壓,實現對流量的測量。見圖1所示:

圖1 差壓變送器現場壓力連接圖
當應用在電廠測高壓蒸汽流量時,如果對靜壓影響不作校正或補償,將會給流量測量帶來較大誤差,尤其是在相對流量較小時,影響更可觀。例如一臺金屬電容差壓變送器型差壓變送器同節流裝置一起組成差壓式流量計,在32MPa工作靜壓條件下其滿量程靜壓誤差為≤±2%FS ,雖然其零位誤差,可以通過調零來消除,但是滿位輸出誤差總是無法避免的,因此此誤差直接影響流量的測試,并且影響量很大。在這種應用工況下,差壓變送器的靜壓性能顯得尤為重要,如果靜壓誤差經過補償,或其本身靜壓誤差極小,則其測量精度將會得到大幅提高。
3、金屬電容傳感器靜壓影響產生的原因
金屬電容式傳感器是一種結構型傳感器,它的靜壓影響尤其突出。這與其本身的結構特點有關。
金屬電容傳感器工作原理介紹:介質壓力通過隔離膜片和硅油傳遞給位于δ室中心的測量膜片,測量膜片隨它兩邊的差壓而變形。測量膜片的位移,與差壓成正比,最大位移為0.1mm。由它兩側的電容極板檢測,再經電子轉換線路把測量膜片和電容極板之間的差動電容轉換為二線制4-20mADC輸出信號。

圖2 金屬電容傳感器軸向解剖圖 圖3 受工作靜壓時的工作剖面圖
3.1靜壓影響產生的原因一
從圖2、圖3可以看出金屬電容式是兩邊受壓,壓力經隔離膜片傳遞到內部中心膜片上。
從圖4金屬電容式傳感器簡化后的應力分布圖和撓度變化圖上可以看出,傳感器內部的壓力從中心向四周方向分布, X方向的應力得到全部抵消,但是Y方向的應力q全部加在了傳感器的外殼上。由于結構尺寸的原因,越靠近中心,結構越單薄,傳感器的抗壓能力越差,尤其是中心膜片處,結構強度最為薄弱。在高壓靜壓下,中心點處產生一個最大的撓度f。結果就是,在高靜壓下中心隔離膜片向外的漲緊力增加,膜片的繃緊程度相對工作靜壓為零時,得到加強。并且工作靜壓越大,其繃緊的程度越大。
在繃緊力增加的狀況下,中心膜片隨差壓的位移就會變小,再經電子轉換線路把測量膜片和電容極板之間的差動電容轉換為二線制4~20mADC輸出的信號也同樣變小。最終導致測量誤差的產生,靜壓影響誤差的出現,并且靜壓影響絕對誤差與所加的工作靜壓有一定的線性關系,工作靜壓越大,其量程的靜壓誤差就越大。
至于零位的靜壓誤差,則表現為方向不確定,這主要與焊接應力和傳感器的個性相關,不具有規律性。

圖4 金屬電容式傳感器簡化后的應力分布圖和撓度變化圖
3.2 靜壓影響產生的原因二
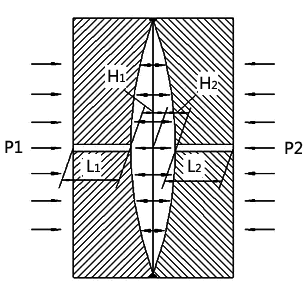
從圖5可以看出,當對傳感器兩側施加靜壓時,金屬電容式的兩側曲面座同時受壓。而曲面坐由金屬和玻璃組成,在外力作用下,會產生微小變形。因此其兩側曲面坐的厚度L1和L2隨著靜壓力P的增大而線性縮小。從而,導致兩側電容極板的極距H1和H2增大。
根據電容的定義,對于平行板電容器的電容為:

圖5 金屬電容式傳感器X軸方向受靜壓力簡化圖
從以上靜壓影響產生的兩個原因分析,金屬電容傳感器在工作靜壓的影響下,不可避免地會產生測量漂移誤差,對于滿位的漂移和工作靜壓存在一定的線性關系,對于零位的漂移則具有方向不確定性。
4、昌暉硅傳感器靜壓影響分析
金屬電容式傳感器是一種結構型傳感器,它的靜壓影響尤其突出。這與其本身的結構特點有關。
昌暉儀表引進瑞士的硅傳感器采用整體封裝,周圍被密封硅油包圍,其敏感元件四周均受力,受靜壓影響力非常小。
工作原理介紹:
硅傳感器的敏感元件是將P型雜質擴散到N型硅片上,形成極薄的導電P型層,焊上引線即成“硅應變片”,其電氣性能是做成一個全動態的壓阻效應惠斯登電橋。它和彈性元件(即其N型硅基底)結合在一起。介質壓力通過密封硅油傳到硅膜片的正腔側,與作用在負腔側硅油形成壓差,它們共同作用的結果使膜片的一側壓縮,另一側拉伸,壓差使電橋失衡,輸出一個與壓力變化對應的信號。惠斯登電橋的輸出信號電路處理后,即產生與壓力變化成線性關系的4-20mmADC標準信號輸出。

圖6 硅傳感器的結構示意圖 圖7 硅傳感器在工作靜壓下的受應力分布圖
從圖6硅傳感器的結構示意圖上可以看出,硅傳感器完全被硅油包容,從圖7硅傳感器在工作靜壓下的受應力分布圖上可以看出,硅傳感器內外各個方向的應力得到了有效抵消。只有在基礎硅片和導油管的環裝連接膠處,當有工作靜壓時存在一個將連接膠壓緊的應力。這個應力基本影響不到測量硅片,所以昌暉單晶硅傳感器的設計結構受工作靜壓的影響較小,比較適合應用于高靜壓測量場合。
5、金屬電容傳感器的靜壓影響數據與結果分析
5.1 測量方法

圖8 靜壓對比測量裝置(T1為基準差壓變送器,T2為被測差壓變送器,S1為負腔可調儲氣氣缸,S2為正腔儲氣氣缸)
工作原理:高壓氣源(7MPa)將高壓氮氣同時加到T1、T2變送器上,然后關閉三閥組的平衡閥,通過微動調解S1的氣缸活塞,可獲得變送器的量程輸出。將被測變送器和基準變送器的數據進行比較,即可推算被測變送器的在此高壓靜壓(7MPa)下的量程靜壓影響誤差。
5.2 測量數據
本試驗中,基準差壓變送器采用昌暉單晶硅差壓變送器(經過靜壓補償),被測差壓變送器采用金屬電容差壓變送器DP型電容式差壓變送器。滿量程均為40kPa,工作靜壓為7MPa。試驗前,所有的變送器均經過線性補償,其基本誤差符合±0.075%的要求。
表1:昌暉單晶硅差壓變送器和金屬電容差壓變送器同量程(40kPa)7MPa工作靜壓下的電壓輸出值記錄

從表1中可以看出:
①在7MPa工作靜壓下,電容式差壓變送器的零位輸出沒有規律性,與0MPa靜壓下的零位輸出比較,其中部分數據變小,部分數據變大。
②在7MPa工作靜壓下,電容式差壓變送器的壓差線性輸出全部偏小,壓差值越大則偏差越大。即滿量程輸出偏差最大,平均滿量程靜壓偏差達-0.020V,即-0.5%。
分析以上列舉的試驗數據,并根據文中對不同傳感器對靜壓影響量的闡述,可知金屬電容式差壓變送器由于其本身結構上的原因,導致其輸出在靜壓工作下發生較大的偏移。
從產品設計的角度出發,為了降低或消除這種偏差,可以通過以下兩個方案實施:
①敏感元件采用壓力傳導介質全包結構設計,如上文提到的采用硅傳感器,它能有效地降低或消除靜壓影響;
②采用軟件靜壓補償原理
首先,在傳感器內部額外設置靜壓傳感器,用以測試工作靜壓;然后,使用專用設備對每種量程的差壓傳感器進行多次重復的靜壓誤差測試,積累到一定的數據后,采用軟件的方法建立靜壓偏移數學模型;最后,將靜壓偏移數學模型下載到每臺差壓變送器中。這樣當經過靜壓補償后的差壓變送器,在現場應用時,將根據不同的工作靜壓,自動修正量程輸出偏差,達到消減靜壓影響的目的。
昌暉儀表目前開發的YR-ER100系列高精度單晶硅變送器,正是基于以上兩點展開研究的,并在市場上獲得一致好評,為客戶解決了靜壓影響問題。相信在不久的將來可以將工作靜壓對差壓傳感器精度的影響降為更低。
相關閱讀
靜壓對差壓變送器性能影響的研究
三種主流的高穩定性壓力變送器技術介紹
單晶硅壓力變送器差壓變送器如何實現高穩定性
