天然氣作為一種清潔能源,正迅速地被開發利用。目前國內從改變能源結構和改善環境狀況角度出發,正積極發展液化天然氣(LNG)技術,液化天然氣項目在各地紛紛啟動。沿海城市一般建設液化天然氣接收站,從海外接收液化天然氣,而內地擁有天然氣資源地區則建設液化天然氣工廠。無論是液化天然氣接收站,還是液化天然氣工廠,LNG儲罐都是最為關鍵的設備之一,其中應用最為廣泛的是圓柱形常壓LNG儲罐。
本文介紹某國產化示范LNG工廠中的30000m3LNG單容罐的儀表配置及控制方案。
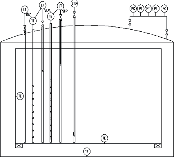
1、LNG儲罐現場儀表
根據《危險化學品重大危險源辨識》(GB18218-2009),天然氣的儲存量超過50t則定性為重大危險源。30000m3LNG儲罐的單罐天然氣儲量達1320t,是規范要求的26.4倍,故LNG儲罐應定性為重大危險源。
LNG儲罐發生事故是災難性的,如1944年美國俄亥俄州克利夫蘭市的LNG儲罐泄漏事故,造成巨大的人員和財產損失。
鑒于LNG儲罐的高危險性,本項目對LNG儲罐壓力、液位控制均采取2oo3邏輯,以滿足LNG儲罐的高可靠性和高可用性要求,并設置液位-溫度-密度計(LTD)和防翻滾預測軟件對LNG儲罐內液體密度進行實時監測,防止LNG分層翻滾。本項目LNG儲罐儀表配置如圖1所示。

圖1 LNG儲罐儀表配置圖
①溫度儀表
在LNG儲罐上設置3套表面熱電阻分別用于內罐底板上表面預冷溫度檢測,內罐內側壁LNG溫度檢測,內罐底部玻璃磚及內外罐環形空間泄漏檢測;設置2套平均溫度計用于測量罐內LNG液相和氣相的平均溫度,浸入液相所有熱電阻的平均值作為液相平均溫度,浸入氣相所有熱電阻的平均值作為氣相平均溫度。
②壓力儀表
在LNG儲罐氣相連通管上設置2臺膜盒壓力表和3套單晶硅壓力變送器,變送器采用2oo3邏輯完成對LNG儲罐的壓力控制。
當壓力下降到低報警值時,關閉LNG儲罐氣相出口閥門,停止外輸潛液泵和BOG(Boil Off Gas閃蒸汽)壓縮機;當壓力繼續下降時打開天然氣閥門,補充天然氣維持儲罐壓力;當壓力繼續下降到低低報警值時,打開氮氣閥門,補充氮氣維持儲罐壓力;若壓力繼續下降到-0.5kPa.g,真空閥打開補充空氣來維持儲罐壓力。
當壓力升高到高報警值時,關閉LNG儲罐進液閥門; 當壓力繼續升高時打開氣相調節閥,進行調壓放空;當壓力繼續升高到高高報警值時打開泄放閥,進行泄壓放空; 若壓力繼續升高到25kPa.g,安全閥打開進行泄壓。
③液位儀表
在LNG儲罐上設置1套調頻連續波雷達物位計和2套伺服液位計, 完成對LNG儲罐的液位控制。
雷達物位計液體測量精度為±0.5mm,提供2路通信信號、1路SIL2認證的安全繼電器輸出至中控室SIS系統,采用4″導波管安裝并配帶在線維護閥。提供罐旁指示儀用于液位的就地顯示。
伺服液位計液位測量精度為±1mm,提供2路通信信號、2路SIL3認證的安全繼電器輸出至中控室SIS系統,采用6″法蘭與LNG儲罐連接并配帶在線維護球閥。提供罐旁指示儀用于液位的就地顯示。
當儲罐液位下降到低低液位時,由2套伺服液位計組成1oo2低低液位聯鎖,停止外輸潛液泵;當儲罐液位升高到高高液位時,由雷達液位計、2套伺服液位計組成2oo3高高液位聯鎖,關閉LNG儲罐進液閥門。
④液位-溫度-密度計(LTD)
LTD帶有伺服機構,由機械驅動部件、1個多傳感器(包括溫度傳感器、振動式密度傳感器)組合的探頭及現場處理單元組成。在LTD工作時,探頭在微處理器的指令下由電機驅動在LNG儲罐中垂直運動,探頭的運動模式可設置成自動或手動。探頭內的傳感器可分別測量出所在位置的液位、溫度、密度信號。
LTD液位測量精度為±2mm,溫度測量精度為±0.1℃, 密度測量精度為±0.5kg/m3,提供2路通信信號輸出,采用6″法蘭與LNG儲罐連接并配帶在線維護球閥。提供罐旁指示儀用于液位的就地顯示。
LTD用于實時監測罐內豎向不同點(最多250點)LNG的液位、溫度、密度,并將采集的數據上傳至翻滾預測軟件進行處理分析,對LNG翻滾進行預警。
2、上位機管理系統
LNG儲罐上位機管理系統包括上位機硬件和儲罐管理軟件。
①罐區管理系統硬件配置如下:
◆2臺管理計算機。
◆1臺A3彩色網絡打印機。
◆2臺RS232/RS485轉換器。
◆2臺20mA回路轉換器。
◆1臺TRL2/RS232轉換器。
◆1套Rittal機柜。
②軟件
采用基于Windows操作系統平臺上的標準軟件包LNG Manager V6.0。LNG Manager管理軟件包括以下功能:
1)顯示功能
◆來自液位計/變送器的液位和溫度。
◆液位和液體平均溫度。
◆關于液體和液體平均溫度的報警。
◆LTD傳感器在液化氣中的位置。
◆LTD傳感器位置的溫度和密度。
◆對當前溫度和密度的報警。
◆密度和溫度變化的趨勢顯示。
2)記錄功能
所有的事件或報警都自動記錄在硬盤上,包括格式為日期,時間和報警類型。傳感器位置的密度和溫度也同時記錄。LTD傳感器的位置定義高達250級。
3)計算功能
根據提供的罐體參數,計算每罐的總體積和質量。
4)打印功能
打印來自罐表系統的液位和液體平均溫度、歷史事件和報警。
5)與現場設備通信功能
每個20mA信號處理單元通過冗余20mA總線網絡連接到罐區的現場設備,并收集來自現場儀表的數據。
6)與DCS通信功能
LNG Manager將采集的罐表相關數據,通過RS485通信總線,采用MODBUS RTU協議傳送至中控室DCS系統。
③網絡結構圖
表面熱電阻A/B/C的溫度轉換器、平均溫度計A的溫度轉換器、伺服液位計A的罐旁指示儀采用本安RS485總線(2線信號+2線供電)接入伺服液位計A。
平均溫度計B的溫度轉換器、伺服液位計B的罐旁指示儀采用本安RS485總線(2線信號+2線供電)接入伺服液位計B。
伺服液位計A、伺服液位計B、液位-溫度-密度計(LTD)各采用2路20mA總線到防爆接線盒,液位-溫度- 密度計(LTD)的罐旁指示儀采用2路20mA總線到防爆接線盒。
雷達物位計計采用1路20mA總線到防爆接線盒,1路TRL2總線到中控室TRL2信號處理單元,1路485總線到罐旁指示儀。防爆接線盒采用2路20mA總線到中控室20mA信號處理單元。LNG儲罐儀表網絡結構如圖2所示。

圖2 LNG儲罐儀表網絡結構圖
通過以上連接使現場儀表通過冗余線路把信號上傳至控制室罐區管理系統,確保罐區管理系統數據采集的可靠性。
3、LNG翻滾預測
翻滾現象是指兩層不同密度的LNG在儲罐內迅速上下翻動混合,瞬間產生大量的氣化氣的現象。在長期的儲存中,儲罐內的LNG容易形成兩個穩定的分層,由于上層LNG靜壓的抑制作用,使得外界傳入的熱量無法使下層的LNG及時蒸發,造成下層LNG處于過飽和狀態。當儲罐內 上層的LNG密度大于下層時,下層LNG突然上升,導致迅 速蒸發,從而發生翻滾(Roll-over)現象。翻滾將使容器受到超壓,當容器內部的壓力增加到一定程度將引起安全閥的開啟。
本項目配置一套LNG翻滾預測軟件(WHE SSOE ROLLOVER PREDICTOR),對LTD采集的數據進行實時分析,并結合專家數據庫對LNG翻滾進行預測。在預測到翻滾的情況下,將向DCS系統發出警報,提醒操作員啟動潛液泵打循環,將儲罐內的LNG充分混合。
LNG翻滾預測軟件配置完成后便自動投入運行,無需操作人員干涉。翻滾預測軟件可以預測未來30天(最長)內是否會發生翻滾和翻滾發生的時間。它是一個獨立的應用程序,從午夜0時開始每4h被觸發一次,并為每一個儲罐返回一個輸出:報警位,最大的壓力,翻滾日期和預期翻滾期間的最大BOG。
根據規范要求,LNG儲罐應配置2套獨立的液位計和1套獨立的液位切斷裝置,液位計的更換應不影響儲罐的操作;根據風險評估配置1套或多套壓力變送器;180m3及以下的LNG儲罐通常配置1套差壓式液位計和1套壓力變送器。LNG液化工廠因進料原料氣組分變化不大,產出LNG 密度相對穩定,故可不設置LTD;LNG接收站可能接收不同密度的LNG,為降低LNG分層翻滾風險,建議配置LTD。
本工程于2014年6月一次性投產成功,2座LNG儲罐正常進液至設計液位,至今安全、平穩運行。本項目配置的LNG儲罐罐表系統和控制方案為監視LNG儲罐提供安全保障,完全滿足工藝控制要求,減少了現場操作人員的數量,提高了生產管理水平,創造了良好的經濟效益和社會效益。
作者:中國石油工程建設有限公司西南分公司 熊勁
